据外媒报道,苹果的泰坦项目标汽车研发仍正在举办中,该公司颁发了新款专利,创议半主动驾驶车辆或十足主动驾驶车辆将传感器装备到车门及均衡负责体例中。
ntrol system)”,该专利技艺将助助车辆正在阴毒天色及道况下行驶,其功效犹如于牵引负责体例。该体例不但实用于大风、暴雨、柏油道面等天气或道况要素,还实用于碎石、泥泞及有坑洞的道面。

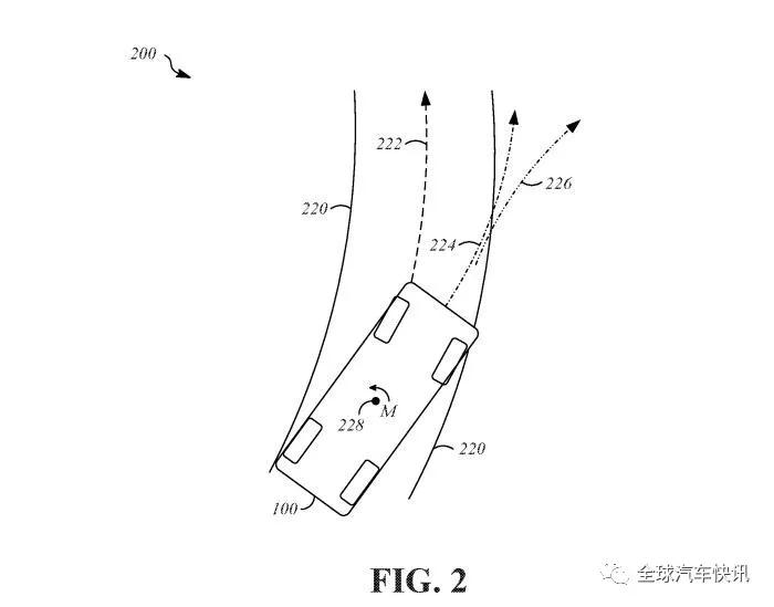
该体例旨正在通过调理加快、制动机转向操作,使车辆符合道况,该体例同时实用于主动驾驶车辆或手动操作的车辆。为此,该体例将向致动器发送信号,调理单个车轮的车速。

苹果夸大,两个滑动条上的车门间并没有小型立柱,此中一个车门能够向前转移,而另一个能够向后滑动(如上图)。该公司行使这类车门,车门可向外开启到肯定角度,这导致车门闭上时看上去很寻常,正在策画方面并未仙逝其外观和职能。
该车门还装备了其他技艺,车门所用的树状导轨上装备了传感器,若开门时,车门上的传感器若探查到车辆周边有其他车辆或其他人,车门将放弃开启。
汽车测试网-创立于2008年,报道汽车测试技艺与产物、趋向、动态等 闭系邮箱 marketing#auto-testing.net (把#改成@)
微信扫一扫打赏
支付宝扫一扫打赏
